新闻动态

  • 阀门怎样进行强度试验和严密性试验?

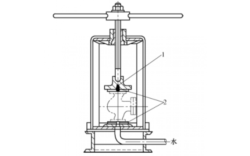
    阀门的强度试验和严密性试验一般在如图1所示的阀门水压试验台上进行。

    2024-07-19 ML SPORTS

  • 如何理解阀门安装前的强度和严密性试验?

    阀门安装前,应作强度和严密性试验。试验应在每批(同牌号、同型号、同规格)数量中抽查10%,且不少于一个。对于安装在主干管上起切断作用的闭路阀门,应逐个作强度和严密性试验。

    2024-07-19 ML SPORTS

  • 110kV备自投试验方案

    一、分段自投: 1.备自投充电条件:110kV侧1#进线171开关合位,110kV侧2#进线173开关合位,110KV侧母联170开关跳位,投入分段自投,备自投投入,待备投充满电后。

    2024-07-19 ML SPORTS

  • 百分浓度g/L和摩尔浓度mol/L之间的换算关系

    质量百分浓度:单位体积混合物中某组分的质量 单位体积混合物中某组分的质量称为该组分的质量浓度,以符号ρ表示,单位为kg/m3。 组分Gi的质量浓度定义式为ρn=Gi/V。式中Gi——混合物中组分i的质量,单位kg;V——混合物的体积,单位m3。 简单的说,是某种成分越多,质量浓度越高。溶质的质量×100%/溶液质量。常见的单位有mg/L、g/mL、ppm、ppb、ppt等等;

    2024-07-17 ML SPORTS

  • 压力变送器量程迁移与稳定性有关系吗?

    有些企业购买的压力变送器允许100倍的量程迁移,将变送器量程向下迁移20倍后使用,发现变送器稳定性差,后恢复标准量程后使用,并未出现变送器稳定性问题,这是什么原因?在本文和大家聊聊哪些因素导致压力变送器量程向下迁移后稳定性变差,将对正确进行变送器量程迁移有帮助。

    2024-07-17 ML SPORTS

  • 发电机的保护功能及作用

    1. 纵差动保护:纵向对比发电机端与中性点的电流,发电机定子绕组及其引出线相间短路故障的主保护。 2. 横差动保护:横向对比分支电流,反映发电机定子绕组一相匝间短路和同一相两关联分支间的匝间短路故障。

    2024-07-17 ML SPORTS

  • 双色水位计冲洗方法及注意问题

    双色水位计冲洗方法为: 1.水位计因水质各异,长期运行会造成结垢,导致红、绿色显示不清晰,可根据需要进行冲洗,冲洗方法分为:汽侧冲洗和水侧冲洗。 2.汽侧冲洗: 首先将水位计的一、二次阀完全关闭,然后微开排污阀,将汽侧一次阀开启到全开,再将汽侧二次阀缓慢开启1/5圈,利用高压蒸汽冲洗结垢的云母片,通过控制汽侧二次阀的开度来调节高压蒸汽的流量(开度不可过大,否则保险子堵死通道),冲洗时间3—5分钟,若水位计已清晰,可停止冲洗工作。冲洗完毕,关闭二次阀、排污阀、一次阀。

    2024-07-15 ML SPORTS

  • 如何解决电磁脉冲阀漏气问题?

    电磁脉冲阀:指将电磁阀、先导阀与脉冲阀组合在一起,直接受电信号控制的膜片阀。 电磁脉冲阀的作用: 就是控制油路中油压的大小。一般安装在主油路或减振器背压油路中,以减少换档和锁止解锁时的油压冲击,使设备运行保持平稳状态。

    2024-07-15 ML SPORTS

首页
产品
新闻
联系