涡轮流量计和涡街流量计虽然只有一字之差,但是结构、原理却截然不同。选择涡街流量计和涡轮流量计时,需要考虑多个因素,包括应用场景、介质类型、精度要求、成本以及安装和维护的便利性。
2025-01-17 ML SPORTS
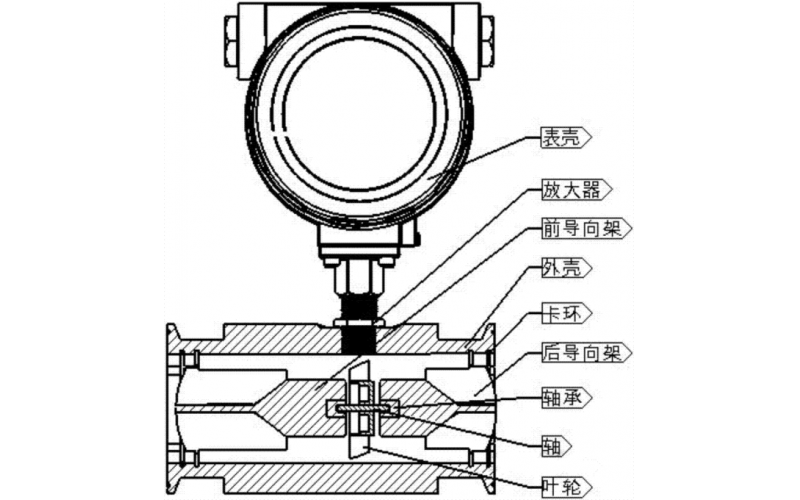
涡轮流量计简介: 涡轮流量计一般由传感器和显示仪两部分组成,也可做成整体式。 涡轮流量计和容积式流量计、科里奥利质量流量计称为流量计中三类重复性、精度最佳的产品,作为十大类型流量计之一,其产品已发展为多品种、多系列批量生产的规模。
2024-08-14 ML SPORTS
金属转子流量计知识点及要素
2024-04-07 ML SPORTS
仪表常用设备点检及维护技能知识
天然气流量仪表的检定趋势
2023-10-09 ML SPORTS
流量计与管道连接的几种方式
2023-08-10 ML SPORTS
正确选择流量计,五大方面缺一不可!
2023-07-24 ML SPORTS
DSRT-8系列涡街流量计在线检测及修复知识分享
2023-04-06 ML SPORTS